連結1
|
連結2
公司資訊
公司沿革
品質政策
產品簡介
實績工程
聯絡我們
CCP
首頁
|
產品相簿
CCP 外型圖
CCP 外型圖
Images 1 of 7
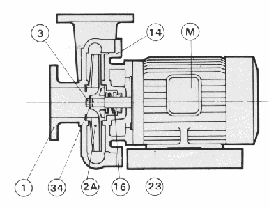
CCP 內部構造
CCP 內部構造
Images 2 of 7
CCP 選擇表 1750rpm
CCP 選擇表 1750rpm
Images 3 of 7
CCP 外型尺寸
CCP 外型尺寸
Images 4 of 7
CCP 外型尺寸
CCP 外型尺寸
Images 5 of 7
CCP 外型尺寸
CCP 外型尺寸
Images 6 of 7
CCP 選擇表 3500rpm
CCP 選擇表 3500rpm
Images 7 of 7
回上頁
產品相簿